Мы рады видеть 219 741 626-го посетителя
Кронштейн боковой с планкой WEAWER (ВИВЕР) для АК, Сайга, Вепрь в том числе под РАМОЧНЫЙ СКЛАДНОЙ ПРИКЛАД (с фиксацией) — магазин «Дед Мазай»
  Главная     Регистрация     КОНТАКТЫ   Московский отдел: +7(916)850-1321
Региональный отдел: +7(977)950-2779
     
Заказ, Оплата, Доставка   Гарантии и возврат   Законодательство

КАТАЛОГ

  Последние поступления
  Новинки охоты
  РАСПРОДАЖА!
  Товары для охоты, стрельбы, комплектующие и запчасти к оружию
  Манки, горны, трубы, свистки
  Чучела для охоты, профили, воздушные змеи
  Средства маскировки
  Запчасти, детали, тюнинг (обвес) для оружия
  Снаряжение патронов, весы
  Ножи и аксессуары к ним, мачете, походные и хозяйственные интрументы
  Оптика, ЛЦУ, Фонари
  Крепления, кронштейны, базы для установки оптики и тюнинга (обвеса)
  Планки Вивера (Weaver), переходники Вивер, крышки ствольной коробки с Вивером (picatinny)
  Базы, переходники, крышки с планкой Вивера на АК, Сайга, Вепрь
  Базы, переходники, крышки Вивера на СКС, винтовку и карабин Мосина
  Базы, переходники на планку Вивера для гладкоствольного оружия
  Базы, переходники на планку Вивера для нарезного оружия
  Прочие базы weaver, переходники на вивер, крышки с Вивером (пикатинни)
  Боковые кронштейны и ответные планки на АК, Тигр, СКС, Мосина
  Кольца для установки прицелов
  Моноблоки (кольца на едином основании) для установки прицелов
  Кронштейны Европризма для ночных прицелов
  Крепления для установки фонарей, колец, лцу и прочего обвеса
  Пристрелка оружия
  Метательные машинки, принадлежности для спортивной стрельбы
  Чехлы, кейсы, футляры, ящики для оружия, патронов и снаряжения
  Кобуры, тренчики
  Патронташи, подсумки, ремни, погоны, ягдташи
  Сумки, рюкзаки
  Уход за оружием
  Одежда, обувь, шляпы, головные уборы, аксессуары
  Часы тактические для охоты
  Лыжи, снегоступы
  Компасы, барометры, фотоловушки, поиск подранков
  Приманки и прикормки для животных, нейтрализаторы запаха
  Подводная охота
  Сигнальные приспособления, факелы, химические источники света
  Книги, видео
  Комиссионные товары
  Продукция охоты и рыбалки
  Макеты оружия, армейская амуниция, пневматика и прочее оружие
  Туристическое снаряжение для охоты, рыбалки, путешествий, отдыха и дачи
  Подарки, сувениры, специальные товары, прочее
  Товары для рыбалки
  ТОВАРЫ ДЛЯ РЫБАЛКИ
  ТОВАРЫ ДЛЯ ТУРИЗМА И ПУТЕШЕСТВИЙ. СНАРЯЖЕНИЕ ДЛЯ ОХОТЫ И РЫБАЛКИ.
  Сигнальные приспособления, пусковые устройства Сигнал Охотника, факелы, химические источники света (ХИС) для охоты, рыбалки, туризма для охотников
  Ножи охотничьи, рыбацкие и хозяйственно бытовые. Заточка лезвий. Мультиинструмент и инструмент для охоты, рыбалки, туризма. Мачете, кукри, тесаки. Средства самозащиты.
  Одежда, обувь, шляпы и головные уборы для охоты, стрельбы, рыбалки и отдыха.
  Сувениры и подарки для охотников. Подарки для мужчин.
  Арбалеты, рогатки, луки для отдыха и развлечений
  Часы наручные для охоты и рыбалки
  Кейсы для оружия, ящики, боксы и коробки для охоты, рыбалки, туризма, автомобилей и квадроциклов
  Чехлы, кейсы и футляры для оружия. Кобуры для пистолетов. Тренчики. Патронташи, подсумки для хранения патронов. Ремни и погоны для охотников. Сумки. Рюкзаки. Ягдташи.
  Метательные машинки для стрельбы по мишеням-тарелочкам. Принадлежности для спортивной стендовой стрельбы (очки, наушники, жилеты, бейсболки, сумки)
  Подводные пневматические ружья для охоты, рыбалки
  Пневматика, пневматическое оружие (винтовки, пистолеты, запасные части)
  ПСП пневматика, PCP пневматические винтовки и пистолеты, запчасти детали и комплектующие ПЦП
  Мангалы, коптильни, газовые плиты, котлы, казаны для отдыха на природе
  Средства самообороны (самозащиты).
  Манки для охоты электронные (электроманки) и духовые (классические), охотничьи горны и трубы, свистки, ошейники для собак
  Чучела для охоты на уток, гусей, боровую, луговую и водоплавающую дичь, голубей, ворон (подсадные, манковые). Фото профили и воздушные змеи для охоты.
  Засидки, маскировочные сети, палатки, маскировочные костюмы и другие средства маскировки
  Камеры для слежения (наблюдения) за животными (для охоты). Фотоловушки.
  Пристрелка оружия. Лазерные патроны холодной пристрелки. Станки и подставки для пристрелки. Мишени для стрельбы.
  Макеты массогабаритные огнестрельного и холодного оружия (ММГ), армейская амуниция, снаряжение, военное обмундирование и раритеты
  Лыжи охотничьи промысловые лесные и рыбацкие, снегоступы, лыжные палки и крепления, смазка и смола для лыж
  Приманки и прикормки охотничьи
  Уход за оружием. Чистка, смазка, консервация, восстановление, проверка. Оружейное масло, наборы для чистки, фальшпатроны.
  Снаряжение охотничьих патронов (приборы, приспособления, пули, гильзы, пыжи, наклейки)
  Весы для охоты и рыбалки.
  Запчасти, детали и комплектующие, тюнинг оружия (огнестрельного, газового и травматического)
  Фонари подствольные тактические оружейные. Фары для охоты. Армейские фонари.
  Крепления для оптики, кольца, базы, кронштейны к оптическим, коллиматорным прицелам, подствольным тактическим фонарям, ЛЦУ
  Прицелы оптические и коллиматорые для оружия. Прицелы ночного видения. ЛЦУ. Бинокли и монокуляры для охоты. Зрительные трубы.
  Компасы, барометры, метеостанции, измерительные приборы для охоты, рыбалки, туризма
  Лодки для охоты, рыбалки и туризма
  Сошки и подставки для оружия. Опоры (упоры) для стрельбы.
  Средства для поиска подранков.
  Мушки, целики и прицельные планки для оружия. Прицельные приспособления.
  Книги и видео об оружии, охоте, рыбалке, туризме
  Шкафы и сейфы для хранения оружия
  УЦЕНЕННЫЕ ТОВАРЫ
  КОМИССИОННЫЕ ТОВАРЫ







 

Поиск товаров на сайте:

 Например, манок Егерь
 
Искать по описанию
 
Товары для охоты, стрельбы, комплектующие и запчасти к оружию / Крепления, кронштейны, базы для установки оптики и тюнинга (обвеса) / Планки Вивера (Weaver), переходники Вивер, крышки ствольной коробки с Вивером (picatinny) / Базы, переходники, крышки с планкой Вивера на АК, Сайга, Вепрь /

Каталог> Товары для охоты, стрельбы, комплектующие и запчасти к оружию Крепления, кронштейны, базы для установки оптики и тюнинга (обвеса) Планки Вивера (Weaver), переходники Вивер, крышки ствольной коробки с Вивером (picatinny) Базы, переходники, крышки с планкой Вивера на АК, Сайга, Вепрь



Кронштейн боковой с планкой WEAWER (ВИВЕР) для АК, Сайга, Вепрь в том числе под РАМОЧНЫЙ СКЛАДНОЙ ПРИКЛАД (с фиксацией)

Наша цена: 2,185 руб.
Вес товара: 152 g
ID товара: 11280

Временно нет в наличии

Кронштейн боковой с планкой WEAWER (ВИВЕР) для АК, Сайга, Вепрь в том числе под РАМОЧНЫЙ СКЛАДНОЙ ПРИКЛАД

  • Кронштейн боковой с планкой WEAWER (ВИВЕР) для АК, Сайга, Вепрь в том числе под РАМОЧНЫЙ СКЛАДНОЙ ПРИКЛАД
  • Кронштейн боковой с планкой WEAWER (ВИВЕР) для АК, Сайга, Вепрь в том числе под РАМОЧНЫЙ СКЛАДНОЙ ПРИКЛАД
  • Кронштейн боковой с планкой WEAWER (ВИВЕР) для АК, Сайга, Вепрь в том числе под РАМОЧНЫЙ СКЛАДНОЙ ПРИКЛАД
  • Кронштейн боковой с планкой WEAWER (ВИВЕР) для АК, Сайга, Вепрь в том числе под РАМОЧНЫЙ СКЛАДНОЙ ПРИКЛАД
  • Кронштейн боковой с планкой WEAWER (ВИВЕР) для АК, Сайга, Вепрь в том числе под РАМОЧНЫЙ СКЛАДНОЙ ПРИКЛАД


Характеристики
Цена за: 1 шт
Вес БРУТТО: 152 г
Общая длина планки: 127,2 мм (11 слотов)
Ширина планки Weaver: 20,8 мм
Общая высота кронштейна: 79 мм
Расстояние между осью ласточкиного хвоста и центром плоскости планки Вивера (высота):64 мм
Общая ширина изделия: 49 мм
Материал изготовления:Алюминиевый сплав
Покрытие: Химическое оксидирование
Цвет:Черный
Совместимость: АК, Сайга, Вепрь
Производитель:Россия, г. Иркутск (Автор кронштейна Пушкарев Н.Г.)



ОПИСАНИЕ


Данное устройство позволяет складывать рамочный приклад и осуществлять разборку без снятия кронштейна с оружия, тем самым повышая его эксплуатационные свойства (смотрите фото).

 Кронштейн боковой с планкой WEAWER (ВИВЕР) для АК, Сайга, Вепрь в том числе под РАМОЧНЫЙ СКЛАДНОЙ ПРИКЛАД



Установка кронштейна возможна на всем семействе автомата «Калашников», карабинов Сайга, карабины «Вепрь». Преимуществом является то, что планка вивер кронштейна расположена максимально близко к оружию, что позволяет стреляющему зафиксировать голову в удобном положении на прикладе.

 Кронштейн боковой с планкой WEAWER (ВИВЕР) для АК, Сайга, Вепрь в том числе под РАМОЧНЫЙ СКЛАДНОЙ ПРИКЛАД



Не подходит для складных пластиковых прикладов.

 Кронштейн боковой с планкой WEAWER (ВИВЕР) для АК, Сайга, Вепрь в том числе под РАМОЧНЫЙ СКЛАДНОЙ ПРИКЛАД



Пр-во: Автор кронштейна Пушкарев Н.Г. г. Иркутск.

 Кронштейн боковой с планкой WEAWER (ВИВЕР) для АК, Сайга, Вепрь в том числе под РАМОЧНЫЙ СКЛАДНОЙ ПРИКЛАД

 Кронштейн боковой с планкой WEAWER (ВИВЕР) для АК, Сайга, Вепрь в том числе под РАМОЧНЫЙ СКЛАДНОЙ ПРИКЛАД

 Кронштейн боковой с планкой WEAWER (ВИВЕР) для АК, Сайга, Вепрь в том числе под РАМОЧНЫЙ СКЛАДНОЙ ПРИКЛАД



ПАТЕНТ:


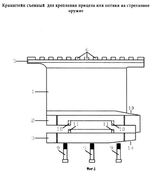
Кронштейн съемный для крепления прицела или оптики на стрелковое оружие

Полезная модель относится к огнестрельному оружию, в частности, к конструкции кронштейна для крепления прицелов различных типов на стрелковое оружие типа нарезного оружия серии АК-74 индекс 6П21.

Полезная модель направлена на упрощение конструкции кронштейна, что позволило складывать приклад оружия без снятия кронштейна и тем самым обеспечить более компактный вариант складывания приклада, удобного при переноске и перевозке оружия.

Технический результат обеспечивается за счет того, что в кронштейне, включающем основание в виде Г-образной изогнутой пластины, снабженной вертикально направленной полкой для крепления ее к боковой поверхности направляющей оружия, в которой выполнены посадочные гнезда в виде «ласточкин хвост», горизонтально направленную планку, выполненную заодно с Г-образной изогнутой пластиной и снабженной двумя параллельными рядами одинаковых по форме и размерам выступов, вертикально направленная полка выполнена из двух деталей, при этом верхняя часть полки выполнена заодно с вертикальной Г-образной изогнутой пластиной с образованием паза с внутренней стороны Г-образной изогнутой пластины, а задние части нижней и верхней деталей вертикальной полки выполнены под углом.

Образование паза с внутренней стороны Г-образной изогнутой пластины позволило максимально приблизить её к ствольной коробке, а выполнение верхней и нижней деталей вертикальной полки под углом обеспечили возможность складывать приклад на оружии серии АК-74 индекс 6П21.

Настоящая полезная модель поясняется чертежами, где на фиг.1 представлена принципиальная схема кронштейна, вид сбоку, на фиг.2 вид кронштейна со стороны крепления к оружию, на фиг.3 вид кронштейна сзади (со стороны приклада), на фиг.4 показано размещение кронштейна с коллиматорным прицелом на оружии, на фиг.5 соответственно размещение кронштейна с оптическим прицелом на оружии.

 патент

 патент

 патент

 патент



Кронштейн съемный для крепления прицела или оптики на стрелковое нарезное оружие представляет собой основание в виде Г-образной изогнутой пластины 1, снабженной вертикально направленной полкой, состоящую из двух соединяющихся между собой деталей 2, 3 (фиг.1) для крепления к боковой поверхности оружия, при этом верхняя деталь вертикально направленной полки 2 выполнена заодно с вертикальной Г-образной изогнутой пластиной 1 с образованием паза 4 фиг (2, 3) с внутренней стороны Г-образной изогнутой платины, которая переходит в планку для крепления прицелов различных типов 5.

Планка представляет собой два параллельно расположенных ряда одинаковых по форме и размерам выступов 6 для крепления прицелов различных типов. С тыльной стороны планки (фиг.3) во всю её длину имеется углубление 7 для обеспечения возможности видеть через него мушку и прорезь штатного секторного прицела. В каждой из деталей 2,3 вертикально направленной полки во всю ее длину выполнено посадочное гнездо 8 в виде «ласточкина хвоста» для установки кронштейна на боковую направляющую стрелкового оружия. Детали 2, 3 вертикально направленной полки соединяются между собой тремя винтами 9. Для соблюдения точной ориентации посадочных гнёзд (ласточкин хвост) на верхней детали 2 вертикально направленной полки выполнено две вертикальных направляющих прямолинейного движения в виде профильных пазов 10, а на нижней детали 3 вертикально направленной полки выполнено два профильных выступа прямолинейного движения 11. Профильные пазы и выступы выполнены в виде полуокружностей.

Для обеспечения возможности свободной постановки, снятия крышки ствольной коробки оружия предусмотрено небольшое углубление 12 (фиг.2, 3) с тыльной стороны Г-образной пластины 1 во всю её длину.

Задние части нижней и верхней деталей 2,3 вертикальной полки выполнены под углом 13,14.

Кронштейн съемный для крепления прицела и оптики на стрелковое оружие, включающее основание в виде Г-образной изогнутой пластины, снабженной вертикально направленной полкой для крепления ее к боковой поверхности направляющей оружия, в которой выполнены посадочные гнезда в виде «ласточкина хвоста», горизонтально направленную планку, выполненную заодно с Г-образной изогнутой пластиной и снабженной двумя параллельными рядами одинаковых по форме и размерам выступов, отличающийся тем, что вертикально направленная полка выполнена из двух деталей, при этом верхняя часть полки выполнена заодно с вертикальной Г-образной изогнутой пластиной с образованием паза с внутренней стороны Г-образной изогнутой пластины, а задние части нижней и верхней деталей вертикальной полки выполнены под углом.

Кронштейн боковой с планкой WEAWER (ВИВЕР) для АК, Сайга, Вепрь в том числе под РАМОЧНЫЙ СКЛАДНОЙ ПРИКЛАД (с фиксацией)

Отзывы (13):

Имя: Александр (23.11.2023 10:14:44)
Тема сообщения:Вопрос о приобретении
Текст:здравствуйте! как можно купить, заказать, забронировать?

Имя: Алексей (17.01.2022 09:24:37)
Тема сообщения:заказать
Текст:Кронштейн на вепрь 222-01

Имя: Никита (15.11.2021 21:52:52)
Тема сообщения:Крепёж
Текст:Подойдёт данный кронштейн на ВПО-222 со складным прикладом?

Имя: Николай (11.05.2020 21:40:42)
Тема сообщения:Заказать
Текст:Кронштейн боковой с планкой WEAWER (ВИВЕР) для АК, Сайга, Вепрь в том числе под РАМОЧНЫЙ СКЛАДНОЙ ПРИКЛАД (с фиксацией)

Имя: Сергей (13.03.2020 21:08:59)
Тема сообщения:Вопрос
Текст:на Вепрь 1В ВПО-125 подойдет?

Имя: Людмила (20.01.2020 22:23:25)
Тема сообщения:Заказ 11280
Текст:Я подтверждаю

Имя: Казбек (09.11.2019 23:06:31)
Тема сообщения:Крепёж

Имя: Дмитрий (20.08.2019 16:56:30)
Тема сообщения:Кроштейн
Текст:Подскажите планка сьемная?

Имя: Дмитрий (11.08.2019 06:38:13)
Тема сообщения:Кроштейн
Текст:Здравствуйте крон в наличии?

Имя: Николай (27.04.2019 21:28:58)
Тема сообщения:Ответ Павлу
Текст:Нет не встанет к сожалению.u

Имя: Павел (20.02.2019 17:13:31)
Тема сообщения:Вопрос
Текст:У меня карабин ВПО 127 1В со складывающимся прикладом и планкой вивер на крышке ствольной коробки. Но на эту планку ночник не поставить, разболтается крышка... Встанет ли этот кронштейн без напилинга???

Имя: Алексей (29.05.2018 22:48:38)
Тема сообщения:отзыв
Текст:Кронштейн хороший. Единственно что - нету на нем никакого паза для пользования открытым прицелом (как на фото все) Прицел становится виден при установке на "5". Надо пилить паз вручную благо конструкция кронштейна позволяет. Крышку ставить, как на всех подобных кронштейнах - конечно неудобно. В целом - очень доволен, то что и требовалось

Имя: Николай (23.05.2018 19:12:09)
Тема сообщения:заказ 180134
Текст:Я подтверждаю

Новое сообщение:

Имя:
Тема сообщения:
Текст:
Код с картинки:

Внимание! Сообщения, о поступлении товара, способах доставки и просьбами перезвонить или написать будут удаляться, так как не являются отзывами о товаре.

 
 
Логин:
Пароль:

забыли пароль?
Корзина
(нет товаров)

Узнать статус заказа

Поиск товара по номеру ID

Шептало левое МР-43 (12, 16 кал.) сб. 4-33 00249  595 руб.
ДТКП (ДТК закрытого типа, банка) газоразгруженный Muar (Муар) титан Ata Arms Turqua (Alr), резьба M14x1L  38,000 руб.
Адаптер-переходник для установки телескопического приклада на АК-74М, АК-12, TG2, Сайга, Вепрь (со складными прикладами) K-Arma  5,750 руб.
Мушка универсальная тактическая с пламегасителем компенсатором ДТК в комплекте с целиком для одноствольных охотничьих ружей 12 калибра с вентилируемой прицельной планкой (типа МР 153) ТАКТИКА ТУЛА вариант 14001  0 руб.

Новости
22.02.2023
График работы 22-26 февраля

29.10.2021
Новинка! Приклад АК (Сайга, Вепрь) PufGun

29.10.2021
Новинка! Приклад АК (Сайга, Вепрь) PufGun

29.10.2021
Новинка! Приклад АК (Сайга, Вепрь) PufGun

29.10.2021
Новинка! Приклад АК (Сайга, Вепрь) PufGun

29.10.2021
Новинка! Приклад АК (Сайга, Вепрь) PufGun

29.10.2021
Новинка! Приклад АК (Сайга, Вепрь) PufGun

29.10.2021
Новинка! Приклад АК (Сайга, Вепрь) PufGun

27.04.2021
График работы в майские праздники 2021г

27.04.2021
Новинка! Мушки 2в1 оптоволокно+тритий!

20.02.2021
График работы в февральские праздники

23.12.2020
График работы в новогодние праздники

13.07.2020
Распродажа в Дед Мазае!

30.06.2020
1 июля - выходной день

23.06.2020
24 июня - выходной день

27.03.2020
Вводятся карантинные меры

05.03.2020
График работы 7-9 марта 2020г

21.02.2020
График работы 22-24 февраля

14.02.2020
В продаже прозрачные гильзы 29 и 410 калибра!

25.12.2019
График работы в Новогодние праздники 2020

31.10.2019
4 ноября - выходной день

28.10.2019
Магазины и запчасти на пистолет ГРОЗА и ХОРХЕ

07.10.2019
С 12 октября мы работаем и по субботам!

16.09.2019
В продаже насадка для ИЖ (МР) усиленный чок 1.25 (XF)

10.06.2019
12 июня - входной день

06.06.2019
В продажу поступили эхолоты GARMIN, DEEPER и другие.

03.06.2019
Снова в продаже прозрачные гильзы 12 калибра!

29.04.2019
График работы в майские прахдники

06.04.2019
Новинка! Манок на вальдшнепа RTCalls

 

Подписаться на новости:





Перейти на мобильную версию сайта


© 2006—2021 Интернет магазин «Дед Мазай»

Всем посетителям сайта предлагаем скидки на мужские носки от знаменитого производителя из Италии.
Разработка и продвижение — студия InkWell